
0898-08980898
波发生器使柔性齿轮产生弹性变形波,使轮齿啮合呈现啮入、啮合、啮出、脱开四种运动状态,连续交替变换的四种运动状态称错齿运动。如图8-29所示,在波发生器的椭圆形凸轮长轴两端处的柔性齿轮轮齿和刚性齿轮轮齿进入全齿啮合时,短轴两端的轮齿脱开啮合,对于长轴和短轴之间的轮齿,在其周长的不同区段,处于逐渐进入或退出啮合的半啮合状态,分别称啮入和啮出。图示波发生器为主动件,刚性齿轮固定,柔性齿轮输出。
是谐波齿轮传动机构中的基本构件之一。在谐波齿轮传动机构中,波发生器是使柔性齿轮按一定变形规律产生弹性变形波的构件。它多为活动件。多作主动件。波发生器可以是机械式的、液压式的、气压式的或电磁式的。机械式的用得较多,其它几种只用于特殊场合。
另外波发生器还有内发生器和外发生器之分,如图8-30 a、b所示,最常用的是内发生器。
由装在偏心轴上的两个或多个圆盘组成(图8-31)。每个圆盘均安装在两个轴承上,轴承和圆盘都应有可靠的轴向定位。为了消除由于径向力产生的弯矩,可采用三圆盘和四圆盘。该种波发生器惯量小,啮合精度较好,可用于一般动力传动和自动控制系统的驱动。图示为双偏心两圆盘式波发生器,2β角称包角为增加刚性和同时啮合的齿数,可取2β=60°~70°。
是由凸轮和薄壁滚动轴承组装成的波发生器(图8-31)。凸轮廓线可按照柔性齿轮所需弹性变形规律设计,这时可实现柔性齿轮和刚性齿轮的理论啮合状态,实现承载能力大、啮合精度高、工作平稳的优良效果。
如图8-32所示,把设计好的凸轮套在薄壁滚动轴承的内孔,过盈安装成一体,这时薄壁滚动轴承的内外圈廓线与凸轮廓线成为等距曲线,所以凸轮式波发生器可实现可控的柔性齿轮的弹性变形。可用在传递功率大、要求精度高的场合。
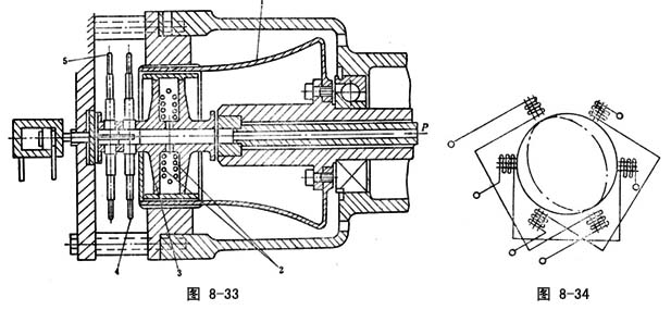
以压缩空气为动力的波发生器,图8-33所示,喷嘴4或5喷出的气体,产生反作用力矩,使气缸3旋转;柔轮1的变形就是靠从旋转缸3中的孔2喷出的压力气体来实现。
利用电磁场作用为动力的波发生器。图8-34所示为电磁式波发生器简图。柔轮由磁性材料制成,并利用旋转磁场使柔轮的变形波移动。该磁场通过辅助磁化而加强。这种波发生器能使谐波减速器直接装入电动机中。由于该传动承载能力较低,故主要应用在仪器中。
为了减少磨损,提高柔性齿轮的寿命和承载能力,在柔性齿轮的内孔加一个抗弯环,抗弯环代替了柔性齿轮内壁,而与波发生器的触头相接触,这样可以降低柔性齿轮的应力,保证柔性齿轮的正常弹性变形。图8-35所示为带抗弯环的行星式滚珠摩擦波发生器,由图8-35可知滚珠相当于摩擦行星轮。
谐波齿轮传动机构中,机械式波发生器的一种,它由滚动触头和转臂组成。通常有双波两触头、三波三触头,四波四触头。图8-36a所示为双触头图b为三触头。触头式波发生器结构简单、加工方便,但柔性齿轮的变形不能严格控制,啮合精度较低。
严格按照所需柔性齿轮的变形曲线,设计波发生器廓线,从而实现柔性齿轮和刚性齿轮的理论啮合状态,这种可以人为控制柔性齿轮按所需弹性变形规律变形的波发生器称可控式波发生器(图8-37)。常用的方法是按照柔性齿轮所需弹性变形轨迹设计成凸轮、椭圆轮、双偏轮联接而成的凸轮。可以是滚动摩擦式(见“凸轮式波发生器”)和滑动摩擦式(图8-37a、b),亦可为外波发生器或内波发生器。
利用液体压力为动力的双波发生器。靠液体压力作用使柱塞运动来实现。液力发生器的谐波传动效率较低。
由一个中心轮和两个或多个行星齿轮组成的触头式波发生器(图8-38)。行星齿轮与柔性齿轮壁是滚动摩擦接触,行星齿轮的公转使柔性齿轮产生弹性变形波。行星式波发生器可明显的增大谐波齿轮传动的传动比。由于靠摩擦传递动力,故其传动比不够恒定。图8-38a、b分别为双波和三波。
行星式波发生器分行星式波发器、滚珠式行星波发生器(见“带抗弯环的行星式发生器”)、可控式行星波发生器(见“凸轮式波发生器”和“可控式波发生器”)。
在工作中的谐波齿轮传动,当柔性齿轮在波发生器作用下,产生可控的弹性变形时,形成的基本对称的切向谐波(图8-39)。它是一个机械波(动力波)。柔性齿轮上某一点循环变形的次数称波数。柔性齿轮某一点的最大变形量称波高。波发生器回转一周产生的波数取决于波发生器触头的个数,常见的有双波和三波。图示为柔性齿轮变形展开图,图a、b分别为双波和三波。
由锥齿轮组成的谐波齿轮传动。它主要由一对内啮合的锥齿轮副1、2,具有偏角的波发生器4和周向限制机构7所组成(图8-40)。输入轴3转动时,迫使波形内锥齿轮1作往复摆动,从而使锥齿轮2在啮合处呈或接或离状态。输入轴每转一周,支承在球形铰链6的输出轴5,反转从动锥齿轮的一个齿距。该机构结构紧凑,传动比大,但有冲击。
具有端面齿轮型式的谐波齿轮传动。在图8-41所示的谐波齿轮传动中,呈平面圆盘形状的板状柔轮2,其上有端面齿,另一端形成一根轴输出,刚轮l呈圆锥形。该传动采用双波行星波发生器,它包括圆盘3、两个钢珠4和保持架5。圆盘3是主动件,柔轮和刚轮的齿的侧面是平直的,顶角为60°~40°。该传动轴向尺寸较小,可用于传递动力和运动。
一种由锥齿少齿差齿轮副组成的行星齿轮传动,参见图8-40。它主要由锥齿少齿差齿轮副1、2、周向限制机构7和曲拐元件4等组成。锥齿少齿差齿轮副是齿数相差很少的锥齿轮组成的行星齿轮副,其中主动锥齿轮为摆动锥齿轮,它是将由主动轴3输入的回转运动通过曲拐元件作摆动或同时作回转运动;从动锥齿轮为转动锥齿轮,它作平面回转运动。曲拐元件是使主动锥齿轮1产生摆动的元件。
从而使该锥齿轮成为摆动锥齿轮。周向限制机构是一种输出机构,它将摆动锥齿轮的空间摆动变为平面回转运动,并传至输出元件5上进行输出。
是由活齿少齿差内齿轮副和偏心元件(偏心轮激波器)组成的传动机构。具体分:滚珠、滚子、柱销活齿少齿差行星传动机构等三种型式,其中以柱销活齿少齿差行星传动机构用的较多。
这种传动机构和谐波齿轮传动机构不同之处仅在于一个是刚性啮合传动,一个是柔性啮
合传动,一个是激波器驱动活齿往复运动使活齿参于啮合或退出啮合,一个是激波器使柔轮变形达到轮齿参于啮合和退出呐合。
该传动机构主要有下列啮合特点:瞬时啮合齿数多(50%的齿数参于啮合);体积载荷大(是齿轮减速器的5~6倍);活齿可作径向伸缩,避免轮齿干涉;传动比范围大i12=±z1;省去了输出机构、结构更为简便,传动效率高;另外齿轮加工的工艺性也较好。所以这种传动机构是具有良好发展前途的新型传动型式。
柱销活齿少齿差行星传动机构是由柱销活齿内齿轮副和偏心轮激波器组成的传动机构。如图8-42所示,利用偏心轮激波器的转动,周期性地驱使柱销活齿沿其轨道往复运动,具有三角直廓的柱销活齿和针齿内齿轮的针齿销啮合,形成蠕动式的切向波,从而实现驱动关系,使偏心轮激波器(偏心元件一行星架)、活齿齿轮、针齿齿轮三个构件具有一定规律的相动运动。若任意固定三个构件中的一个构件,其余两构件可互为主、从构件,若三个构件都为活动件,则可组成差动机构。
设偏心元件转速为nH、活齿架转速为nJ,针齿轮的转速为ng,激波器的波数为a,则传动比为:
该传动机构有一系列的啮合优点(见“活齿少齿差行星传动机构”)和工艺特点。
柱销作为活齿的齿轮。由偏心轮激波器、柱销活齿、活齿架组成。如图8-42所示,在活齿架上开有等分匀布的径向圆销孔,柱销齿置入圆销孔内,由偏心轮激波器转动时推动柱销齿往复运动,使活齿和针齿轮相啮合传递运动和动力。活齿齿形为三角直廓形。
由齿数差很少(z2-z1=1~4)的内齿轮(近似圆弧齿廓齿轮)或针齿内齿轮和活齿齿轮组成的内齿轮副。
活齿按圆周方向匀布在径向孔(或槽)中并能在孔(或槽)中作往复或滚转运动的盘架称活齿架,它是活齿齿轮的轮体。通常和输入或输出轴作成一体。
活齿齿轮的轮齿可分滚珠、滚子和柱销式三种,它不但能和共轭内齿轮(滚珠或滚子活齿)或针齿内齿轮(柱销活齿)啮合,而且能在活齿架的孔(或槽)中作往复运动或回转运动。
齿轮轮齿是活动构件的组合齿轮。一般由活齿和活齿架组成。活齿齿轮通常分三种,滚珠活齿齿轮、滚子活齿齿轮和柱销活齿齿轮。活齿齿轮可为外齿轮也可为内齿轮。活齿齿轮多和相共轭的内齿轮或针齿内齿轮组成齿轮副,用以组成活齿少齿差行星齿轮传动。
采用滚子或滚珠作为活齿的齿轮。它由滚子(或滚珠)、活齿架及偏心轮组成,偏心轮转动时有规律推动滚子(或滚珠)沿活齿架的径向孔移动,使滚子(或滚珠)参于或退出啮合,在组成活齿少齿差行星齿轮传动机构时,偏心轮相当行星架作为输入轴,活齿齿轮是行星齿轮。滚子活齿齿轮呈线接触,滚珠活齿齿轮副呈点接触。其齿轮副啮合情况见图8-43a,b。
滚珠或滚子活齿齿轮多和具有共轭齿廓的内齿轮相啮合形成内啮合齿轮副,为此内齿轮齿廓的选择应考虑两个条件,一是共轭性,二是工艺性。
共轭曲线是滚子或滚珠活齿的包络线,这条共轭曲线是复杂曲线,工艺性差,为了减少制造上的困难,共轭曲线可用滚子、或滚珠活齿廓的密切圆来代替,密切圆的半径近似滚子直径。这个密切圆弧就是滚珠或滚子活齿轮的相啮齿轮的齿廓。